MEC Driver LED sensor IR/TK, sensor
Product number:
7061414
- Accessory
- 2.000 mm
Prices will only be shown once logged in.
Description
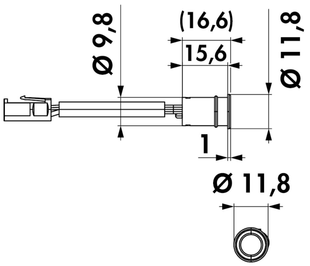
MEC Driver LED sensor IR/TK, sensor
The MEC Driver LED Sensor IR/TK is suitable for use with the MEC Driver switch module and offers a dimming or door contact function depending on the setting of the function module. The follow-up time can be individually set via the function module. The maximum range of the sensor is 50 mm. Its connection cable measures 2,000 mm in length. The accessory is compatible with the LIC system.
— black
— use with the MEC Driver switching module
— dimming or door contact function, depending on the setting of the function module
— setting the run
—on time via the function module
— range max. 50 mm
— connection cable 2000 mm
Article type:
Accessory
Colour:
black
Further:
dimmer or door contact function, depending on the function module setting, setting of the run-on time via the function module
Length of the supply line (primary):
2.000 mm
Lighting system:
MEC LED system compatible
Lighting system voltage:
12/24 V
Suitable for:
use with the MEC Driver switching module
Transmitter range:
50 m
Variant type:
capteur
Height:
11,8 mm
Downloads
Contact persons and kitchen professionals in your area
The nearest Naber dealer is not far away. On this page you will find competent contact persons and kitchen professionals.

There are three print catalogues: BASICS, TECH and INTERIEUR. They are a popular orientation guide and a rich source of information for browsing and looking around. Let yourself be inspired!